咨询热线
13932809161
减隔震橡胶支座

HDR高阻尼隔震橡胶支座按功能形式分为固定型隔震支座和滑动型隔震支座,固定型支座位移通过橡胶剪切变形来实现,橡胶的水平剪切能承受较大的水平力,按其连接结构又分为Ⅰ型、Ⅱ型两种类型,通过高阻尼橡胶在水平方向的大位移剪切变形及滞回耗能实现减隔震功能。
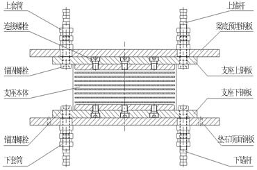
Ⅰ型——支座与墩、梁之间采用套筒连接,支座顶面、底面均设预埋钢板,上、下支座板和套筒之间采用锚固螺栓连接,上、下预埋钢板与套筒之间采用配合焊接。


HDR(Ⅰ)高阻尼隔震橡胶支座结构示意图(固定型)
Ⅱ型——支座与墩、梁之间采用套筒连接,支座底面不设预埋钢板,底钢板和套筒之间采用锚固螺栓连接,上预埋板与顶钢板之间采用卡榫连接,上预埋钢板与套筒之间采用配合焊接。


HDR(Ⅱ)高阻尼隔震橡胶支座结构示意图(固定型)
滑动型支座的产品结构示意图如下:


HDR高阻尼隔震橡胶支座结构示意图(滑动型)
支座代号

示例:
HDR(Ⅰ)-D900-G10/8-e168,表示:直径为900mm,橡胶设计剪切模量1.06MPa,设计转角为0.008rad,设计剪切位移量为±168mm的HDR(Ⅰ)圆形固定型高阻尼隔震橡胶支座;省略型号表示为:UUHDR(Ⅰ)-D900-G10UU。
HDR(Ⅱ)-350×400-G8/8-e56,表示:纵桥向尺寸为350mm、横桥向尺寸为400mm,橡胶设计剪切模量0.80MPa,设计转角为0.008rad,设计剪切位移量为±56mm的HDR(Ⅱ)矩形固定型高阻尼隔震橡胶支座;省略型号表示为:UUHDR(Ⅱ)-350×400-G8UU。
HDR-D300-H/8-e100,表示:直径为300mm,设计转角为0.008rad(橡胶设计剪切模量0.64MPa),主滑移方向设计位移量为±100mm的HDR圆形滑动型高阻尼隔震橡胶支座;省略型号表示为:UUHDR-D300-H/8UU。
HDR-350×400-H/8-e150,表示:纵桥向尺寸为350mm、横桥向尺寸为400mm,设计转角为0.008rad(橡胶设计剪切模量0.64MPa),主滑移方向设计位移量为±150mm的HDR矩形滑动型高阻尼隔震橡胶支座;省略型号表示为:UUHDR-350×400-H-e150UU。
本系列支座原则上本体的长边沿横桥向安装,考虑到桥梁横向尺寸可能受限,定制设计了矩形固定型专用系列(如HDR(Ⅰ/Ⅱ)-AB-G[Z] */ *),布置方式为支座本体的长边沿纵桥向布置。

